Бесплатные звонки с территории России 8 (800) 222-54-08
Продукция
Новости
Каталоги
Контакты
Наши дилеры
Лизинг
Доставка
Вакансии
Продукция
Новости
Наши дилеры
Лизинг
Новинки
Доставка
Каталоги
Вакансии
Контакты
Модернизация
Заказать online
Отдел сбыта: +7 (8412) 45-81-59 e-mail:
bsm@sura.ru
Главная
/
Сервисы
/
Каталог сборочных единиц
Каталоги сборочных единиц
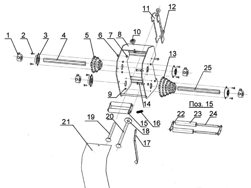
Механизм передач СУС 00.180-01
1
2
3
4
5
6
7
8
9
10
11
12
13
14
15
16
17
18
19
20
21
22
23
24
25
Сборочные единицы и детали:
Кольцо стопорное 509.046.7060
/
Болт М6-6gх14.88.019 DIN 933 (ДСТУ ГОСТ 7798:2008)
/
Корпус 509.046.5990-Т
/
Вал СУС 00.683
/
Блок СУПА 00.1240
/
Болт М8-6gх25.88.019 DIN 933 (ДСТУ ГОСТ 7798:2008)
/
Гайка М8-6H.8.019 DIN 980 (ДСТУ ISO 7042:2009)
/
Корпус СУС 00.190
/
Гайка М6-6H.8.019 DIN 980 (ДСТУ ГОСТ 7042:2009)
/
Ручка Н 126.17.030-01
/
Кронштейн СУС 00.428
/
Гайка М12-6H.8.019 DIN 980 (ДСТУ ISO 7042:2009)
/
Блок СУПА 00.1230
/
Болт М8-6gх30.88.019 DIN603 (ДСТУ ГОСТ 7802:2008)
/
Натяжник СУС 00.360
/
Пружина 509.046.6425
/
Рычаг СУС 00.513
/
Шайба С16.01.10.019 ГОСТ 6958-78
/
Болт М16-6gх160.88.019 DIN 931 (ДСТУ ГОСТ 7798:2008)
/
Болт М16-6gх220.88.019 DIN 933 (ДСТУ ГОСТ 7798:2008)
/
Крышка СУС 00.429
/
Боковина 509.046.4543
/
Ролик 509.046.0078
/
Ось 509.046.6423
/
Вал СУС 00.6093
Сборочные единицы и детали:
1 | Кольцо стопорное 509.046.7060
2 | Болт М6-6gх14.88.019 DIN 933 (ДСТУ ГОСТ 7798:2008)
3 | Корпус 509.046.5990-Т
4 | Вал СУС 00.683
5 | Блок СУПА 00.1240
6 | Болт М8-6gх25.88.019 DIN 933 (ДСТУ ГОСТ 7798:2008)
7 | Гайка М8-6H.8.019 DIN 980 (ДСТУ ISO 7042:2009)
8 | Корпус СУС 00.190
9 | Гайка М6-6H.8.019 DIN 980 (ДСТУ ГОСТ 7042:2009)
10 | Ручка Н 126.17.030-01
11 | Кронштейн СУС 00.428
12 | Гайка М12-6H.8.019 DIN 980 (ДСТУ ISO 7042:2009)
13 | Блок СУПА 00.1230
14 | Болт М8-6gх30.88.019 DIN603 (ДСТУ ГОСТ 7802:2008)
15 | Натяжник СУС 00.360
16 | Пружина 509.046.6425
17 | Рычаг СУС 00.513
18 | Шайба С16.01.10.019 ГОСТ 6958-78
19 | Болт М16-6gх160.88.019 DIN 931 (ДСТУ ГОСТ 7798:2008)
20 | Болт М16-6gх220.88.019 DIN 933 (ДСТУ ГОСТ 7798:2008)
21 | Крышка СУС 00.429
22 | Боковина 509.046.4543
23 | Ролик 509.046.0078
24 | Ось 509.046.6423
25 | Вал СУС 00.6093
Возврат к списку
Copyright © 2004-2022 Белинсксельмаш All rights reserved.
Напишите нам
Ваше имя
Код PHP
*" required>
Ваш телефон
Код PHP
*" required>
<img title="Код PHP: <?=GetMessage("our_comment")?>" id="bxid413578973" class="bxhtmled-surrogate-dd" src="/bitrix/images/1.gif"/><span class="bxhtmled-surrogate-inner"><span class="bxhtmled-right-side-item-icon"></span><span class="bxhtmled-comp-lable" unselectable="on" spellcheck=false>Код PHP</span></span></span>">
Спасибо! Ваша заявка принята.
Отправить
Вход
" data-bx-app-ex-value="Неверный логин или пароль. ">
E-mail
Код PHP
" required>
Пароль
Код PHP
" required>
Забыли пароль
Регистрация
Войти
Регистрация
" data-bx-app-ex-value="Неверное подтверждение пароля. ">
" data-bx-app-ex-value="Пользователь с e-mail ">
" data-bx-app-ex-value="уже существует ">
" data-bx-app-ex-value="Пароль должен быть не менее 6 символов длиной. ">
" data-bx-app-ex-value="Есть подозрения что вы робот. Обновите страницу и попробуйте еще раз. ">
ФИО
Код PHP
" required>
E-mail
Код PHP
" required>
Пароль
Код PHP
" required>
Подтвердите Пароль
Код PHP
" required>
Войти
Я согласен с
Политикой конфиденциальности