Бесплатные звонки с территории России 8 (800) 222-54-08
Продукция
Новости
Каталоги
Контакты
Наши дилеры
Лизинг
Доставка
Вакансии
Продукция
Новости
Наши дилеры
Лизинг
Новинки
Доставка
Каталоги
Вакансии
Контакты
Модернизация
Заказать online
Отдел сбыта: +7 (8412) 45-81-59 e-mail:
bsm@sura.ru
Главная
/
Сервисы
/
Каталог сборочных единиц
Каталоги сборочных единиц
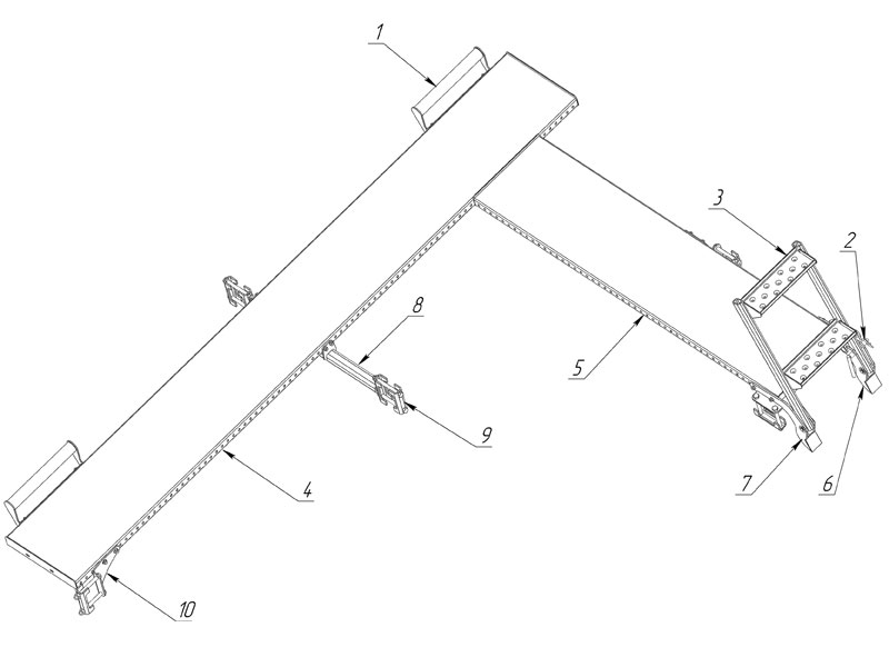
Подножная доска ПШКК 12.060
1
2
3
4
5
6
7
8
9
10
Сборочные единицы и детали:
Ручка ПШКК 00.390
/
Фиксатор 509.046.6650
/
Лестница ПШКК 00.180
Сборочные единицы и детали:
1 | Ручка ПШКК 00.390
2 | Фиксатор 509.046.6650
3 | Лестница ПШКК 00.180
Возврат к списку
Copyright © 2004-2022 Белинсксельмаш All rights reserved.
Напишите нам
Ваше имя
Код PHP
*" required>
Ваш телефон
Код PHP
*" required>
<img title="Код PHP: <?=GetMessage("our_comment")?>" id="bxid413578973" class="bxhtmled-surrogate-dd" src="/bitrix/images/1.gif"/><span class="bxhtmled-surrogate-inner"><span class="bxhtmled-right-side-item-icon"></span><span class="bxhtmled-comp-lable" unselectable="on" spellcheck=false>Код PHP</span></span></span>">
Спасибо! Ваша заявка принята.
Отправить
Вход
" data-bx-app-ex-value="Неверный логин или пароль. ">
E-mail
Код PHP
" required>
Пароль
Код PHP
" required>
Забыли пароль
Регистрация
Войти
Регистрация
" data-bx-app-ex-value="Неверное подтверждение пароля. ">
" data-bx-app-ex-value="Пользователь с e-mail ">
" data-bx-app-ex-value="уже существует ">
" data-bx-app-ex-value="Пароль должен быть не менее 6 символов длиной. ">
" data-bx-app-ex-value="Есть подозрения что вы робот. Обновите страницу и попробуйте еще раз. ">
ФИО
Код PHP
" required>
E-mail
Код PHP
" required>
Пароль
Код PHP
" required>
Подтвердите Пароль
Код PHP
" required>
Войти
Я согласен с
Политикой конфиденциальности