Бесплатные звонки с территории России 8 (800) 222-54-08
Продукция
Новости
Каталоги
Контакты
Наши дилеры
Лизинг
Доставка
Вакансии
Продукция
Новости
Наши дилеры
Лизинг
Новинки
Доставка
Каталоги
Вакансии
Контакты
Модернизация
Заказать online
Отдел сбыта: +7 (8412) 45-81-59 e-mail:
bsm@sura.ru
Главная
/
Сервисы
/
Каталог сборочных единиц
Каталоги сборочных единиц
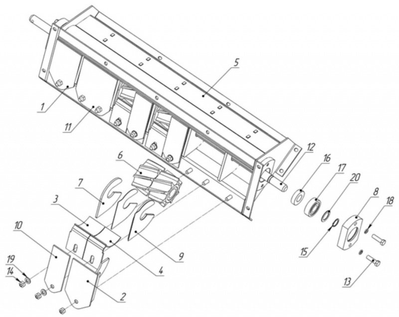
Аппарат высевающий 73.00.2100-01 (выпускается с 2016 г.) для ALCOR 7,5
1
2
3
4
5
6
7
8
9
10
11
12
13
14
15
16
17
18
19
20
Сборочные единицы и детали:
Заглушка 73.00.1460
/
Заглушка 73.00.1460-01
/
Заслонка 73.00.2070-04
/
Заслонка 73.00.2070-05
/
Корпус 73.00.2110
/
Катушка 90.00.3320-02
/
Прокладка 73.00.025
/
Корпус 73.00.305
/
Прокладка 73.00.4294
/
Крышка 73.00.4295-02
/
Крышка 73.00.4308
/
Вал 90.00.6071
/
Болт М8-6gх30.88.019 DIN 931 (ДСТУ ГОСТ 7798:2008)
/
Гайка М8-6H.8.019 DIN 980 (ДСТУ ISO 7042:2009)
/
Кольцо 20х1,2 DIN 471 (ДСТУ ГОСТ 13942:2008)
/
Манжета 2.1-20х40-1/1 ГОСТ 8752-79
/
Подшипник 180204 ГОСТ 8882-75
/
Шайба 8 65Г 019 ГОСТ 6402-70
/
Шайба С.8.01.10.019 ГОСТ 11371-78
/
Шайба С 80.410
Сборочные единицы и детали:
1 | Заглушка 73.00.1460
2 | Заглушка 73.00.1460-01
3 | Заслонка 73.00.2070-04
4 | Заслонка 73.00.2070-05
5 | Корпус 73.00.2110
6 | Катушка 90.00.3320-02
7 | Прокладка 73.00.025
8 | Корпус 73.00.305
9 | Прокладка 73.00.4294
10 | Крышка 73.00.4295-02
11 | Крышка 73.00.4308
12 | Вал 90.00.6071
13 | Болт М8-6gх30.88.019 DIN 931 (ДСТУ ГОСТ 7798:2008)
14 | Гайка М8-6H.8.019 DIN 980 (ДСТУ ISO 7042:2009)
15 | Кольцо 20х1,2 DIN 471 (ДСТУ ГОСТ 13942:2008)
16 | Манжета 2.1-20х40-1/1 ГОСТ 8752-79
17 | Подшипник 180204 ГОСТ 8882-75
18 | Шайба 8 65Г 019 ГОСТ 6402-70
19 | Шайба С.8.01.10.019 ГОСТ 11371-78
20 | Шайба С 80.410
Возврат к списку
Copyright © 2004-2022 Белинсксельмаш All rights reserved.
Напишите нам
Ваше имя
Код PHP
*" required>
Ваш телефон
Код PHP
*" required>
<img title="Код PHP: <?=GetMessage("our_comment")?>" id="bxid413578973" class="bxhtmled-surrogate-dd" src="/bitrix/images/1.gif"/><span class="bxhtmled-surrogate-inner"><span class="bxhtmled-right-side-item-icon"></span><span class="bxhtmled-comp-lable" unselectable="on" spellcheck=false>Код PHP</span></span></span>">
Спасибо! Ваша заявка принята.
Отправить
Вход
Забыли пароль
Регистрация
Войти
Регистрация
Я согласен с
Политикой конфиденциальности
Регистрация